译者:興趣使然的小胃
预估稿费:260RMB
投稿方式:发送邮件至linwei#360.cn,或登陆网页版在线投稿
一、前言
Positive Technologies研究团队对英特尔管理引擎(Intel Management Engine,Intel ME)11的内部构造深入研究后,找到了在硬件初始化及主处理器启动后禁用Intel ME的一种方法。在本文中,我们会介绍发现这个未公开模式的详细过程,也会介绍这一模式与美国政府的高保证平台(High Assurance Platform,HAP)之间的具体关系。
免责声明:本文介绍的方法存在一定的风险,可能会损坏或损毁你的计算机。我们对用户的任何实验行为不承担任何责任,也不保证整个过程能顺利完成。如果有人了解相关风险后想继续实验,建议在SPI(Serial Peripheral Interface,串行外设接口)编程器的帮助下进行。
二、简介
Intel ME是一项专有技术,由集成在平台控制单元(Platform Controller Hub,PCH)中的一个微控制器以及一组内置的外部设备所组成。PCH承担了处理器与外部设备之间的绝大部分通信,因此,Intel ME可以访问计算机上的几乎所有数据。如果攻击者可以在Intel ME上执行第三方代码,他就能完全控制整个平台。世界各地的研究人员对Intel ME的内部构造越来越感兴趣,其中一个原因在于这个子系统已经迁移到了新的硬件(x86)以及软件(操作系统为修改版的MINIX)平台上。在x86平台上,研究者可以使用得心应手的二进制代码分析工具。在此之前,对相关固件的分析非常困难,因为早期版本的ME使用了ARCompact微控制器,指令集完全不同。
不幸的是,之前我们无法分析Intel ME 11,因为其中的可执行模块经过霍夫曼(Huffman)编码的压缩,使用了未知的压缩表。尽管如此,我们的研究团队(Dmitry Sklyarov、Mark Ermolov以及Maxim Goryachy三名成员)还是成功恢复了这些压缩表,开发了一个工具来解压镜像。大家可以在GitHub上下载这个工具。
解压可执行模块之后,我们继续研究Intel ME的内部软件及硬件结构。我们的团队一直在这方面开展研究,也累积了大量研究成果,这些成果将于未来逐步公开。本文也是分析Intel ME内部构造及禁用ME核心功能系列文章的第一篇文章。一直以来,研究人员致力于找到禁用该功能的具体方法,以减轻Intel ME中的任何零日漏洞可能带来的数据泄露风险。
三、如何禁用ME
某些x86计算机用户曾经问过这样一个问题:如何禁用Intel ME?包括Positive Technologies专家在内的许多人已经多次提出过这个问题。基于Intel ME的英特尔主动管理技术(Intel Active Management Technology,AMT)最近出现了一个严重漏洞(评分为9.8/10),随着这个漏洞的披露,找到这个问题的答案也愈加紧迫。
令人失望的是,在现代计算机上,我们无法完全禁用ME。原因主要是因为这项技术负责初始化、管理电源以及启动主处理器。另一个复杂原因在于,某些数据被集成在PCH芯片内部,而PCH正是现代主板上的南桥。某些爱好者尝试在维持计算机可操作性的前提下,移除了ME镜像中的所有“冗余”部分,实现对ME的禁用,这也是之前采用的主要方法。但这种方法没有那么简单,因为如果内置的PCH代码没有在闪存中找到ME模块,或者检测到相关模块处于损坏状态,那么系统将无法启动。
经过多年的研发,me_cleaner项目已经开发了一个实用工具,可以删掉ME镜像中的大部分组件,只保留对主系统来说至关重要的组件。但这样处理后,即使系统成功启动,留给我们的时间也非常短,大约30秒之后系统就可能会自动关机。原因在于,一旦出现故障,ME就会进入恢复模式(Recovery Mode),在这个模式下,系统只能运行一段时间。这样一来,“瘦身”过程就会变得非常复杂。比如,在早期版本的Intel ME中,我们可以将镜像大小缩小到90KB,但Intel ME 11的镜像只能缩小到650KB。
四、隐藏在QResource中的秘密
Intel允许主板厂商设置少量ME参数。Intel为硬件厂商提供了特殊的软件来实现这一点,这些软件包括用于配置ME参数的闪存镜像工具(Flash Image Tool,FIT),以及通过内置的SPI控制器来直接对闪存进行编程的闪存编程工具(Flash Programming Tool,FPT)。这些程序并没有提供给最终用户,但我们很容易就能在网上找到这些工具的下载地址。
我们可以从这些工具中提取出大量XML文件(详细过程请点击此链接)。这些文件包含许多有趣的信息,包括ME固件的结构、PCH strap的描述以及集成在PCH芯片中的各种子系统的特殊配置信息。其中名为“reserve_hap”的某个字段引起了我们的注意,因为这个字段后紧跟着一行注释:“启用高保证平台(HAP)”。
使用Google搜索后,我们很快就找到了一些信息。根据搜索结果,该字段与美国国家安全局(NSA)的可信平台计划(trusted platform program)有关。关于这个计划,大家可以访问此链接了解详细信息。首先,我们第一反应是设置一下这个比特位,看设置完毕后会发生什么情况。只要掌握SPI编程器或者可以访问闪存描述符(Flash Descriptor),我们就可以设置这个比特(许多主板通常没有正确设置对闪存区域的访问权限)。
平台加载后,MEInfo工具报告了一个非常奇怪的状态:“Alt Disable Mode.(Alt禁用模式)”。经过快速检查,我们发现ME没有响应命令,也没有对操作系统发出的请求做出反应。我们决定找出系统进入这个模式的原因,以及当前这种情况的具体意义。当时,我们已经分析了BUP模块的主要部分,这个模块用于平台的初始化,也用于设置MEInfo所显示的状态。为了了解BUP的工作机制,我们需要详细介绍一下Intel ME软件环境的具体信息。
五、Intel ME 11架构概览
从PCH 100系列开始,Intel完全重新设计了PCH芯片。嵌入式微控制器的架构由ARC的ARCompact切换到x86架构。Intel选择Minute IA(MIA)32位微控制器作为基础单元,该微控制器在Intel Edison微机以及SoC Quark上使用,结合使用了Intel 486微处理器以及奔腾处理器的一组指令集(ISA)。然而,对于PCH来说,Intel使用22纳米半导体技术制造了核心组件,使得微控制器具备更高的能效。在新的PCH中有三个这样的核心组件:管理引擎(ME)、集成传感器中心(Integrated Sensors Hub,ISH)以及创新引擎(Innovation Engine,IE)。后两者可根据PCH模型以及目标平台启用或者禁用,而ME核心始终处于启用状态。
这种大范围的修改同样涉及到ME软件的修改。具体说来,MINIX被选择作为基础操作系统(之前使用的是ThreadX RTOS)。现在的ME固件包含全功能版的操作系统,包括进程、线程、内存管理、硬件总线驱动、文件系统以及其他许多组件。ME中也集成了一个硬件加密处理器,支持SHA256、AES、RSA以及HMAC。用户进程可以通过本地描述符表(local descriptor table ,LDT)来访问硬件。进程的地址空间由LDT进行管理,该空间只是内核的全局地址空间的一部分,内核全局地址空间也由本地描述符来指定。因此,与Windows或Linux系统不同的是,内核不需要在不同进程的内存之间进行切换(修改页表目录)。
了解Intel ME软件的背景知识后,现在我们可以分析操作系统以及模块的具体加载过程。
六、Intel ME加载过程的各个阶段
整个加载过程从ROM程序开始,ROM程序位于内置的PCH只读存储区中。不幸的是,普通用户无法掌握读取或重写这部分存储区的方法。然而,我们可以在网上找到ME固件的预发行版,这个版本包含ROMB(ROM BYPASS)组件,我们假定这个组件与ROM的功能有所重复。因此,检查这个固件后,我们就可能重现初始化程序的基本功能。
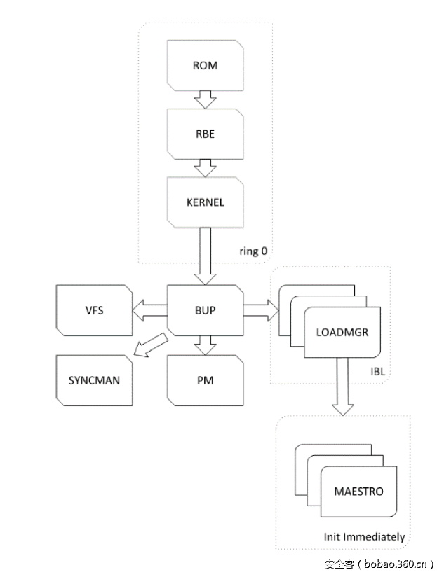
通过检查ROMB,我们可以确定ROM执行一系列操作的目的,这些操作包括初始化硬件(比如,初始化SPI控制器)、验证FTPR头部的数字签名、加载闪存中的RBE模块。然后,RBE会验证KERNEL、SYSLIB以及BUP模块的校验和,并将控制权交给内核入口点。
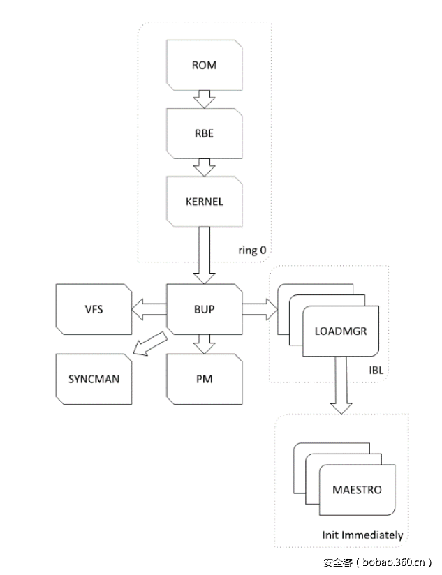
需要注意的是,ROM、RBE以及KERNEL的执行位于MIA内核的0权限(ring-0)级别下。
内核创建的第一个进程是BUP,这个进程运行在ring-3级别的自身地址空间中。内核本身并不会启动其他任何进程,这些动作由BUP来完成,还有另一个独立的模块(LOADMGR),后面我们会专门讨论。BUP(BringUP平台)的目的是初始化平台(包括处理器)的整个硬件环境,执行主电源管理功能(比如,当按下电源键时启动平台),并且启动所有其他ME进程。因此,可以肯定的是,如果缺少有效的ME固件,PCH 100以及更高版本系列物理上就无法从启动。首先,BUP会初始化电源管理控制器(PMC)以及ICC控制器。其次,BUP会根据某些字符串来启动某些进程,其中某些字符串硬编码在固件中(如SYNCMAN、PM、VFS),其他字符串包含在InitScript中(InitScript类似于autorun,保存在FTPR卷标头中,经过数字签名)。
因此,BUP会读取InitScript,启动符合ME启动类型的所有IBL进程。
如果某个进程无法启动,BUP就不会启动系统。如图9所示,LOADMGR是列表中的最后一个IBL进程。该进程会启动剩余的进程,但与BUP不同的是,如果模块启动过程中出现错误,LOADMGR会继续执行下一个模块。
这意味着给Intel ME“瘦身”的第一种方法是删除InitScript中没有IBL标志的所有模块,这样就能显著减少固件的大小。但我们最初的任务是找到HAP模式下的ME出现了什么状况。为了找到问题的答案,我们可以看一下BUP软件模型。
七、BringUP
如果你仔细研究BUP模块的工作方式,你会发现BUP中实现了一个经典的有限状态机。执行过程从功能上分为两个部分:初始化阶段(有限状态机)以及在系统初始化后根据其他进程的请求来执行服务。根据平台以及SKU(TXE、CSME、SPS、消费者以及企业)的不同,初始化阶段的数量也会有所不同,但对于所有版本来说,主要的阶段都是相同的。
7.1 阶段1
初始化阶段会创建sfs内部诊断文件系统(SUSRAM FS,位于非易失性存储区中的一个文件系统),读取配置信息,最关键的是,会向PMC查询哪个动作触发了启动过程:是平台插电、整个平台的重启、ME重启还是从睡眠中唤醒。这个阶段称之为启动流确定阶段。有限状态机初始化的后续阶段需要依赖这一阶段。此外,这一阶段还支持多种模式:普通模式以及一组服务模式,后一个模式中,主ME功能处于禁用状态(如HAP、HMRFPO、TEMPDISABLE、RECOVERY、SAFEMODE、FWUPDATE以及FDOVERRIDE功能)。
7.2 阶段2
这个阶段会初始化ICC控制器,加载ICC配置文件(负责主要消费者的时钟频率)。同时,这个阶段会初始化Boot Guard,开启处理器启动确认的轮询过程。
7.3 阶段3
BUP等待来自PMC的一则信息,以确认主处理器已启动。随后,BUP启动电源事件的PMC异步轮询过程(平台的重启或关闭),然后进入下一阶段。如果这类事件发生,那么BUP就会执行初始化阶段所请求的动作。
7.4 阶段4
这个阶段会初始化内部硬件。与此同时,BUP启动heci轮询(heci是个特殊设备,用来接收来自BIOS或操作系统的命令),查询BIOS中的DID(DRAM Init Done,DRAM初始化完成)信息。这个消息可以让ME确定主BIOS是否已完成RAM的初始化并为ME保留一个特殊的区域(UMA),之后会进入下一个阶段。
7.5 阶段5
一旦收到DID消息,根据具体的模式不同(这个模式由多种因素决定),BUP会(以正常模式)启动InitScript中的IBL进程,或者会在循环中挂起,只有收到来自PMC的消息(例如收到重启或关闭系统的请求)才会退出循环。
正是在这个阶段,我们找到了HAP处理过程。在这个模式中,BUP会挂起,不会执行InitScript。这意味着正常模式中的后续动作与HAP没有关系,因此也不需要去考虑。我们需要重点关注的是,在HAP模式下,BUP会初始化整个平台(ICC、Boot Gurad),但不会启动主ME进程。
八、设置HAP比特
根据前面的分析,我们可以找到第二种方法来禁用Intel ME:
1、设置HAP比特。
2、在FTPR的CPD区中,删除或破坏除BUP启动需要用到的模块之外的其他所有模块,BUP启动需要用到如下模块:
RBE
KERNEL
SYSLIB
dBUP
3、修复CPD头部的校验值(可访问此链接了解ME固件结构的详细信息)。
那么,我们如何设置HAP比特?我们可以使用FIT配置文件,确定镜像中该比特的具体位置,但还有另一种更为简单的方法。在FIT的ME内核区中,我们可以找到一个保留参数。这个比特可以启动HAP模式。
九、HAP以及Boot Guard
此外,我们还在BUP中找到某些代码,当HAP模式处于启用状态时,这些代码会在Boot Guard策略中设置一个额外的比特。不幸的是,我们还没有找到这个比特所控制的具体对象。
十、me_cleaner中对ME 11的支持
当我们在准备这篇文章时,me_cleaner开发者更新了他们的程序。现在,这个程序也可以删除镜像中除RBE、KERNEL、SYSLIB以及BUP之外的所有模块,但没有设置HAP比特,这样就会迫使ME进入TemporaryDisable(临时禁用)模式。我们很好奇这种做法会导致什么情况出现。
我们发现删除分区以及ME文件系统后,会导致cfgrules文件读取过程中出现错误。这个文件包含许多不同的系统设置。正如我们猜测的那样,这些系统设置中包含一个名为“bupnottemporarydisable”的标志。如果没有设置这个标志,整个子系统就会切换到TemporaryDisable模式,此外,由于这个标志为初始化为0的全局变量,因此读取错误会被当成已断开的配置请求错误。
此外,我们还检查了服务器版以及移动版的ME固件(SPS 4.x以及TXE 3.x)。在服务器版本中,这个标志总是设为1;在移动版本中,这个标志会被忽略。这意味着这种方法在服务器版以及移动版(Apollo Lake)的ME中无法奏效。
十一、尾声
在本文中,我们找到了一个未公开的PCH strap,可以切换到一种特殊的模式,在早期阶段就能禁用Intel ME的主要功能。之所以能得出这个结论,主要依据有三点:
1、依据对Intel ME固件的二进制分析过程,如前文所述。
2、如果我们移除某些关键的ME模块并启动HAP模式,Intel ME并不会崩溃。这足以证明HAP在早期阶段就禁用了ME。
3、我们非常肯定Intel ME无法退出这个模式,因为我们没有在RBE、KERNEL以及SYSLIB模块中找到能够执行此操作的相关代码。
同样,我们可以确定的是,集成到PCH中的ROM实际上与ROMB相同,ROMB中也没有包含退出HAP模式的任何代码。
因此,HAP可以防护除RBE、KERNEL、SYSLIB、ROM以及BUP模块之外的所有模块中可能存在的漏洞。然而,不幸的是这个模式无法防止攻击者利用早期阶段中存在的错误。
Intel表示他们已得知我们的研究细节。从他们的回应中,证实了我们对HAP程序未公开模式的猜想。在Intel的许可下,我们摘抄了部分回应内容,如下所示:
“致Mark/Maxim:
为了响应具有特殊要求的客户请求,我们有时候会修改或禁用某些功能。在这种情况下,我们会根据设备制造商的要求进行修改,以响应客户对美国政府的“高保证平台”计划的支持。这些修改的验证周期较为有限,并不是官方支持的配置。”
我们可以肯定的是,这种机制旨在满足政府机构的典型需求,以减少侧信道数据泄露的风险。但主要的问题仍然没有得到解决:那就是HAP如何影响Boot Guard?由于HAP是一项封闭性技术,我们无法回答这个问题,但我们希望不久的将来这个问题能够得到解答。

























发表评论
您还未登录,请先登录。
登录